张庭夫妇公司名下96套房产被查封
4月19日从权威渠道获悉,张庭、林瑞阳夫妇创办的品牌TST庭秘密,其运营主体公司——上海达尔威贸易有限公司(以下简称“达尔威公司”)因涉嫌传销,公司名下96套房产已被查封。

据权威人士透露,这些房产的价值约为17亿元,系TST庭秘密在上海的办公大楼,“整栋大楼都是达尔威公司的,分了96个房产本,在去年7月已被查封。”
“这些房产的产权被查封了,不能进行交易、产权抵押,但达尔威公司仍可正常使用,下一步应该要等石家庄市裕华区市监局做出处罚决定后再进行处理。”上述权威人士透露称。
公开资料显示,达尔威公司的总部位于上海市浦东新区江耀路28号。
2021年12月31日,上海,林TST庭秘密总部大楼。图据视觉中国2021年12月31日,上海,林TST庭秘密总部大楼。
曾是TST庭秘密的代理商告诉红星资本局,大约在几年前,张庭、林瑞阳夫妇买下这栋大楼后对代理商们进行过宣传,号称花了17亿元。大楼位于黄浦江畔,TST庭秘密曾邀请部分代理商参观。

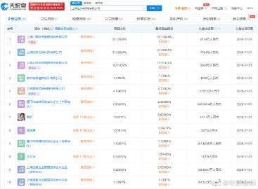
天眼查App显示,上海达尔威贸易有限公司成立于2013年6月,注册资本约2.32亿人民币,法定代表人、董事兼总经理为林吉荣(林瑞阳),董事长为张淑琴(张庭),该公司前两大股东分别为上海广鹏投资管理咨询有限公司、上海胜极生物科技有限公司,共持股约67%,两家公司法定代表人均为张庭。风险信息显示,达尔威贸易公司多次因服务合同纠纷、买卖合同纠纷被起诉,其中一则法律文书显示,该公司因拖欠供应商货款被判赔36万余元。2021年7月,达尔威贸易公司、振泓生物科技公司、巨擘亿网实业公司等多家张庭夫妇关联公司被保康县市场监督管理局申请保全审查。





张庭会被判刑吗?
随着微商带货的兴起,不断有明星尝试踏足该领域。而在传销事件被爆出前,张庭林瑞阳无疑是从明星向微商转型最成功的案例。
两人于2013年合创“TST庭秘密”,该品牌以化妆、护肤品作为主打商品类,八年间创造出世所罕见的营业额。
据监督管理局认定,相关公司在2018年1月至2021年7月的3年半内,营收共达91.71亿元,这样庞大的数字,薇娅与之相比都不值一提。
但树大招风,难免引来外界质疑。
2021年年末,“张庭林瑞阳公司涉嫌传销被查处”的消息登上微博热搜,一时之间舆论哗然。本月上旬张庭案件有了新进展,而审判结果尚未得知,面对两人长达八年的传销,其背后究竟有何套路?张庭夫妇又是否会面临牢狱之灾?

一、张庭的圈钱之路
早些年,张庭作为很多90后的“童年女神”,凭借出色的演技受到广大观众的喜爱,直到与已婚的张瑞阳传出绯闻才名声大受影响。
虽然负面新闻萦绕,但张庭进驻微商直播行业,也一度塑造出独立自主的新女性正面形象,并开始了她的圈钱之路。

除去微商这一身份,张庭也巧妙地抓住了短视频带货的商机,并快速进驻短视频。
2020年4月罗永浩开播,第一场带货达到1.1亿元,刷新短视频的带货记录,而张庭在6月份入驻,刚开播就卖了2.56亿元,是罗永浩的两倍多。
张庭无疑十分具有商业头脑,又具有敏锐的市场洞察力,加之营销模式具有一定吸引力,几年间赚得盆满钵满。其达尔威公司也慢慢由最初的6万人增长到676万会员,在全国门店达到800多家。

据了解,张庭夫妇曾在上海黄浦江边买了一栋楼,作为其达尔威公司的总部。这栋江景楼,高19层,价值达到17亿元,财大气粗的张庭夫妇更是赠送多层楼给娱乐圈的好友。
除去这栋写字楼外,二人居住的豪宅估价也能达到2.2亿元。对于普通人来说,这种生活可能几辈子都无法实现。

二、营销背后的套路
纵观张庭夫妇的经营模式,不难发现二人长达八年的新型传销背后套路如同蛛网,虽不带强迫性质,但一旦落入网中就很难脱身。那么他们究竟靠什么筑造起了这样一个庞大的商业帝国?
其一是明星所带来的跟风效应。
在国内,明星的影响力不容小觑,商场里随处可见明星的商业代言,无形之中让人们产生了一种明星代言等于可信的潜意识错觉,这种潜意识会让人们偏向于选择明星所代言的品牌。
而张庭的“TST庭秘密”具有得天独厚的优势,无论是创始人张庭、林瑞阳,还是合伙人明道、陶虹等都是知名度极高的演员,这样的组合让TST庭秘密这个品牌一开始就镶上了金边,吸引着无数人跟风跳进网内。

其二是打造新型传销模式。
张庭的公司之所以屹立不倒长达八年之久,很大的一部分原因就是以“合法”掩饰“非法”。与传统传销手段相比,张庭公司很大一个特点是非常强迫,这种带着诱骗性质的传销很容易起到掩人耳目的作用。
八年间张庭夫妇通过建立公司,微商短视频直播带货,以创业投资为名,一步步地对受害者下套。

不过虽然形式上新颖,但内里还是换汤不换药。主要体现在这种新型传销依旧是洗脑式宣传,给员工编织暴富梦,怂恿鼓吹员工拉人头进入公司,而一旦进入公司就需要缴纳各种形式的入门费,造成受害者的经济损失。
其三是打造品牌特点,塑造产品可靠性。
众所周知张庭的公司2013年才创立,但二人考虑到新品牌不易受到认可,硬是将品牌历史拉到了1994年,人为塑造了品牌的历史积淀。除品牌历史外,张庭还打出活性酵母的品牌特性,并以此为噱头鼓吹产品功效。
自从传销事件被爆出以后,张庭所出售的面膜也被揭露。成本仅有4块钱的面膜,而售价却卖到了100块,8年间净赚了300多亿。如此低成本的面膜,当然谈不上酵母功效,但东窗事发之前,张庭所营造的品牌可信度却无疑是成功的。
三、脱身还是牢狱?
张庭夫妇在上海过着纸醉金迷的生活,而被拉入传销大网的受害者却妻离子散,家庭破碎,一些受骗的宝妈甚至连孩子的奶粉钱都无法支付。
如此吃人血馒头的做法,社会上的大多数人都是希望这两人能够得到严惩。

根据我国《刑法》的第二百二十四条规定,进行传销活动处五年以下有期徒刑或者拘役,并处罚金;而情节严重的,则处五年以上的有期徒刑,并处罚金。
目前张庭的案件已经由相关部门明确确定为构成传销,然而张庭是否会面临牢狱之灾还未知。
值得关注的是去年九月市场监督管理局对张庭做出行政处罚,达尔威公司被没收违法所得1927.99万元,罚款170万元,与其巨额收入相比该数值对夫妇二人来说无关痛痒。
除此之外二人在调查期间,被冻结了6亿资产,然而更多的资产其实依旧被握在手中。

其实张庭案件存在一定的复杂性,夫妇二人在多个地区注册公司,其直播带货以及售卖产生的收益,大部分都流向了香港。经过一系列暗箱操作,达尔威公司的控制权和收益是张庭夫妇的,可风险却不是他们承担的。
目前案件依旧在审判过程中,无论二人进行何种操作,传销的实质无法改变,明面上已经触犯了中国法律。
就案件本身来看,张庭脱身的可能性也较小,无论是社会舆论还是法理对传销都是零容忍,但何种处罚还得看官方的进一步审判。
张庭的传销帝国为何崩塌
从娱乐圈跨界做微商生意的张庭夫妇,凭高调宣传屡屡刷屏,并构建起庞大的商业帝国。单单是两人拥有的达尔威公司,2018年度缴税总额就高达12亿元人民币。但张庭夫妇及其公司不仅遭到多家媒体关于其涉嫌传销的质疑,更有消费者投诉其旗下产品存在严重的质量问题。此外,张庭夫妇的公司还曾因“员工下跪领粥”和“男明星与女员工亲密互动”等事件引发网络讨论,可谓争议不断。
值得一提的是,张庭夫妇在经商过程中,以恩爱人设吸引了不少关注。林瑞阳不仅为二人购置豪宅,甚至出手阔绰,为张庭闺蜜送楼,话题度可谓拉满。与此同时,林瑞阳的前妻曾是彼时台湾的当红女星,早早放弃事业、下嫁生子。如今她却独立抚养着孩子,还要无缘无故遭到网络暴力。陈年旧事让人无比嗟叹。

社交媒体截图
媒体起底TST传销帝国:多层级代理销售,典型的“返利传销”
中国网财经8月11日的文章指出,张庭、林瑞阳夫妇创立的“TST庭秘密”等产业链产品采用了多层级代理体系的销售模式,而“TST庭秘密”模式看似只有两级代理,但在不少人看来,其返利层级早已超过3级,是典型的“返利传销”模式。
据报道,“TST庭秘密”公司将代理商分为两类,一类是蓝卡,一类是红卡。蓝卡和红卡的共同点是首次单月业绩满2500元,享受160元的额外奖励。但是蓝卡与红卡的奖金制度相差甚远,所以代理在推广过程中,会极力推荐新人升级为红卡代理。
其中,仅红卡代理就分为A、B、C、D、E、F六个级别,工资由个人业绩提成、团队批零差奖金、自媒体教育推广奖三部分组成。观察者网发现,这一说法与财经媒体“世直研”2019年2月25日发布的调查文章基本一致,不过名称略有不同。
红卡即一些代理商所谓的“金卡”。
一位TST代理商对“世直研”工作人员介绍,TST将所有的代理商区分为金卡和小金卡代理。小金卡的工资由两部分组成:业绩在2500元以下的,个人销售提成15%;除此以外还有所谓自媒体推广奖:团队业绩在2500元以下,但是个人卖货额达到600元,发展的直系代理总业绩在1000元以上,那么就有总业绩3%的“推广奖金”。
这意味着:“团队销售额”越高,金卡等级越高,个人提成也越高。
一份TST代理商出具的“招商说明书”显示,最高级别的金卡A类代理商,其团队业绩在25万元以上。代理商个人提成比例为32%;如果达到30万以上的所谓自媒体业绩要求,还可以再获得总业绩5%的奖金。

TST旗下smile团队发出的招商说明书 来源微信公众号“世直研”
文章称,除了所谓的业绩提成和自媒体业绩奖,代理商还有所谓的批零差奖金。此外,代理商可以招代理、组建自己的团队。曾被曝与林瑞阳十指紧握、拍下亲密互动照片的TST西南大区负责人“阿紫”,就曾在其微博中介绍称她团队每月零售额突破4亿元,总销量突破80亿元。

@TST西南大区负责人阿紫截图 转引自“世直研”
法律专家:TST模式与传统传销有所不同,但似乎本质无二
与动辄非法拘禁、施加暴力的传统传销相比,TST的销售行为有很强的隐蔽性。
《禁止传销条例》规定:传销是指组织者或者经营者发展人员,通过对被发展人员以其直接或者间接发展的人员数量或者销售业绩为依据计算和给付报酬,或者要求被发展人员以交纳一定费用为条件取得加入资格等方式牟取非法利益,扰乱经济秩序,影响社会稳定的行为。

TST涉嫌传销的隐蔽之处在哪里?
其一,没有设置门槛费。如果成为代理需要缴纳门槛费,那么就符合“以交纳一定费用为条件取得加入资格”的标准,非常容易被辨认出其传销行为,但TST规避了。不过据报道,TST小金卡(银卡)早年曾要求代理商必须销售满300元,这一要求后来被取消。
其二,隐藏层级关系。通常来看,传销活动在组织形式方面的特征是:参加者人数众多且形成层级关系。具体要求参与传销活动的人员在三十人以上,层级在三级以上。

最高检察院网站截图
印波是北京师范大学刑事法律科学研究院副教授,北京市京都律师事务所刑事部兼职律师。他指出:TST的商业模式和其接触的被定性为“传销”的模式有所不同,但似乎本质上无二。
印波称,TST的商业模式反复强调,你的奖金只与你发展的直接代理之奖金发生关系,和下线的下线没有勾稽关系。如此一来,看起来组织、领导传销活动罪的三级是无法形成的,只有两级。“想必是有高人支招。”
印波表示,TST一直在致力于规避传销罪的风险,还在合法合规纳税,“较很多传销企业高明很多”,但是其团队计酬式传销活动依旧可以得到认定。
值得补充的是,在团队计酬式传销中,个人收益与团队业绩息息相关,这势必会激发团队负责人帮助下线销售员获得更好的销量和发展新人,帮助企业获得更高的经济效益。

《民主与法制》2019年第8期文章截图
TST的宣传是一套说辞,现实中又是另外一副景象。
TST号称无需囤货,但事实上很容易出现代理商为了维持销售资格和提成比例,自己消费、囤货的行为;TST号称零成本,但是要成为高级别的代理商,是不是就得不停地发展人、扩大业绩?这无法摆脱“拉人头”的问题。
TST的加盟方式非常简单,代理商可以网上直接申请,或添加客服微信、电话申请。上游新闻2019年4月报道中提到,TST宣传称:“我们和传统的微商不一样,其中含有销售模式,正是由于其销售模式的诱惑力,1天新进代理达到1万余人。这很不可思议,人人都有代理权限,人人都可以卖TST的产品。”
那么问题来了:一个人既不懂化妆品,也不懂销售,不需要相应的资质,仅仅因为购买产品,就可以获得代理资格。这样的商业模式,如何证明自己是完全清白的?

图源微信公众号“ 李旭反传防骗团队”
据微信公众号“ 李旭反传防骗团队”12月24日消息,石家庄市裕华区市场监督管理局查证函表示,2021年6月5日,该局对上海市达尔威贸易有限公司涉嫌传销立案调查,并逐级向上级报备。
查证函明确:“因其利用金融机构转移或隐匿涉传销资金,该局已依法申请人民法院采取保全措施,目前案件在进一步调查中。”
张庭夫妇商业版图庞大,TST日常令人咂舌
张庭夫妇的达尔威公司,曾多次以高额纳税走红。
2019年,达尔威获得“2018年度上海市青浦区百强优秀企业”称号,以及青浦区“2018年度纳税最高奖”。
据《证券时报》2019年1月消息,2017年1-9月,上海达尔威净利润就已突破11亿元,相当可观。此外,有消息称,“上海达尔威2018年度缴税总额高达96亿元新台币(约21亿元人民币)。”证券时报·e公司记者从青浦区相关部门工作人员处获悉,上海达尔威在青浦区的纳税总额并没有外界报道的21亿那么多,或许是该公司统计的全国其他地区总和,而在青浦区的纳税金额超过12亿元。
达尔威是美妆品牌TST的经营主体,”TST”(庭秘密)系列护肤品和食品曾招来范冰冰、赵薇、徐峥、陶虹、曹格、张馨予、刘涛、明道等明星为其站台,林志玲还担任了TST胶原蛋白饮料的代言人。高调的宣传,是不少消费者对其信任的原因之一。
这也带来了源源不断的利润。

在涉嫌传销之外,TST还被投诉质量问题。
2016年,有消费者曝料称“TST庭秘密”化妆品导致多人“烂脸”——消费者在使用产品之后,脸上起了硬疙瘩,用了三四个月之后开始大面积爆痘,这一事件引发各界关注。

某电商平台截图
当时“TST庭秘密”代理回应称,这是“排毒反应”。随着事件不断发酵,张庭发布长文解释,称因用户肤质不同,导致对化妆品反应不同。她强调“TST庭秘密”产品均可放心使用。

某患者出具的诊断书
此外,在达尔威之外,张庭夫妇投资和任职企业众多,商业版图相当庞大。根据启信宝数据初步统计,林吉荣(林瑞阳)和张淑琴(张庭)旗下企业远远超过了100家。

启信宝截图
除了高调的宣传之外,张庭夫妇和TST企业还常常以一些“奇奇怪怪的事情”刷屏。
比如员工“下跪领粥”。
今年年初,林瑞阳一位员工晒出一段“下跪领粥”的视频,爆红网络。配文称:“在公司让我们感受到家的温暖,在腊八节亲自为我们盛一碗暖暖的腊八粥”、“他是我事业上的领路人,也是人生导师,如兄如父”。
面对网络争议,1月25日深夜,这名女员工回应称:“97年的女孩子在60岁林大哥面前也是晚辈,作为有教养的人,长辈给盛饭的时候,蹲下去是应该的,本来是好事”。

社交媒体图片
该员工指责称,有关林瑞阳旗下公司企业文化的质疑是“断章取义”。

此外,作为有妇之夫,林瑞阳和女员工十指相扣、过度亲密,不少网友表示不能理解。

凭借其人脉,让男明星和女员工互动,似乎还成为某种“福利”。
据新浪娱乐2020年12月报道,有网友反映,张庭夫妇公司会邀请明星站台。在某次活动中,已婚且身为人父的男星明道在站台时,与女员工的互动方式竟然是吻头发、闻脖子和帮涂护手霜等内容。女员工排队等着上台,明道一遍又一遍地重复互动行为。
不少网民直呼“辣眼睛”。明道工作室随后则发文称,这是“正常互动”,并警告部分网络用户,要其立即停止将歪曲事实的言论再次发酵。
在不少网民看来,这些操作让人看不懂,但是大受震撼。
来自微商团队“董事长”的爆料
作为“董事长”,30岁的河北人柳宜决定举报她干了4年的“工作”。
柳宜告诉南风窗,一次,她无意间翻看了李旭反传销团队的文章,事情越想越不对劲。今年5月,她把公司的奖金制度、各种宣传文案等材料发给了李旭。后者看了认为,这是变相的入门费、拉人头、团队计酬。
特征齐了,“根据禁止传销条例的规定,这是典型的涉传特征”,李旭告诉南风窗。
柳宜所爆料的,是一个无比庞大的微商帝国——TST庭秘密。在它背后,还牵连着众多星光闪烁的演艺明星,张庭、林瑞阳、“小陶虹”,以及各路为其代言、站台的明星。
这不是李旭团队第一次接到类似爆料。他们向爆料人所在地主管部门发出举报后,同时间,柳宜也将相应材料递送到石家庄市裕华区市场监督管理局。
12月23日,李旭向石家庄裕华区市场监管局发起查证,并于当日收到回函,回复称,上海达尔威贸易有限公司(TST庭秘密主体公司)涉嫌利用网络从事传销活动,因其利用金融机构转移或隐匿涉传销资金,该局已依法申请人民法院采取保全措施,目前案件在进一步调查中。
12月29日,张庭夫妇和他们的微商帝国被推向舆论的风口浪尖,TST庭秘密在微博上回应,公司坚持合法经营,目前运营一切正常。
前述市场监管局的工作人员对媒体表示,目前,此案已进入财务审计阶段,下一步将以审计数据为准对上海达尔威贸易有限公司进行处罚。
“子子孙孙”
柳宜告诉记者,进入TST庭秘密后,套路是一环扣一环的。
她是做后勤工作的,相对清闲。2016年,一位偶然认识的朋友介绍兼职给她做,TST庭秘密,并说是明星老板,动一动手指,分享就可以了。不需要投一分钱。

庭秘密APP截图(受访者供图)
这叫分享经济。
柳宜说,当时,这位朋友做了4个月,说自己每个月挣七八千。
柳宜不知道怎么分享。朋友接着介绍,门槛很低,群里有文案,有图片,你只要复制粘贴即可。
扫了朋友提供的二维码,开了银卡(当时分为金卡、银卡,后改为红卡,蓝卡),就算入了伙。她开始疯狂复制、粘贴,发朋友圈。某天,有人找到她,说不买货,要开卡。柳宜转头问上级,得知自己还没有开卡资格,“她跟我说,你得买2500元的货,升级到金卡”。

TST庭秘密代理业绩计算方式(图源:新京报)
另一种逻辑呈现在她面前,要赚钱,不靠卖货赚利润,而是赚返点(2.5%~5%)和各种业绩奖金。根据柳宜提供的奖金图,TST公司将红卡(前身为金卡)代理分为7等级,采用正价返利模式,团队业绩越高,返利越多,团队业绩计算包括代理个人与下线的业绩总和,奖金包括团队个人销售奖金、自媒体业绩要求奖、自媒体教育推广奖、批零差奖金。
“她跟我说,你朋友圈才多少人,你零售怎么能挣钱?你要做老板,他们的业绩,就能算你的业绩,你儿子辈和你孙子辈买东西,你都有钱赚。”
途径,就是开卡,柳宜发动了亲朋好友。没多久,群就满了,很多人她也不认识。当时处在爆发期,拉人很容易。
拉到了人,但还是没钱进账。
上级告诉她,钱都丢了。500人的群里,有的繁衍出十多代,而她只能赚儿子辈和孙子辈的。“她跟我说,本来这些钱你都能挣到,结果跟你没关系,我一听就着急了。“

TST庭秘密群聊(受访者供图)
那些月入20万、30万的人,都要“裂变”——自己当创始人和董事长。据柳宜说,条件是发展直系下级,“儿子辈”100人,且连续3个月业绩达到10万。
TST公司号称0囤货,但大多数人跟她一样,为了达到业绩,拿到奖金,就不得不自己砸钱拿货,再想办法低价卖出去,或者自己用掉。
2017年年初,柳宜成功当上了董事长,她注册了一个公司。但她发现自己压力更大了,完不成业绩,就全部清零,什么奖金都拿不到。为达成业绩,就不断砸钱,买货。
处理这些货物也很困难,少部分是自己用,大部分以6折甚至更低的价格甩卖,有的卖给下级,以完成团队业绩,有的是挂在咸鱼、拼多多。但货品经常被封,她打听到,都是公司举报的。因为公司每天公布类似的处罚公告。
奖金是拿到了,但投入也越来越多。几年下来,作为董事长的柳宜,投入了30万,但却发现自己根本没赚到钱。
“4年了,给公司瞎忙活。”
明星的光环
作为微商,TST的迅猛发展,令大众感到费解。
2018年,TST以12.6亿的纳税额,位列上海青浦区纳税第一名,相当于青浦百强企业总和的10%。更夸张的是第二年,TST以21亿纳税额再次登顶。
明星、微商、纳税冠军,“TST庭秘密”的光环背后,还有持续不断的涉传争议。
TST庭秘密是上海达尔威贸易有限公司旗下品牌,由林瑞阳创办于2013年,主要从事护肤品的生产和销售。
林瑞阳曾是一系列琼瑶剧的御用男主,以琼瑶小生而闻名娱乐圈,其中广为人知的作品有《一帘幽梦》。林瑞阳1960年出生于台湾,进入大陆后,逐渐淡出娱乐圈,涉足商业领域。
TST庭秘密背后的明星远不止林瑞阳一个。据天眼查,上海达尔威的大股东,是上海胜极生物科技有限公司,法定代表人为张淑琴,她更为人熟知的艺名,叫张庭。2002年,她与徐峥主演的穿越剧《穿越时空的爱恋》,收视超过10.0.
张庭和林瑞阳是夫妻,两人于2006年在台北公证结婚。
达尔威众多股东中,引人关注的还有北京最陶然服装服饰有限公司,由演员陶虹100%控股,陶虹、徐峥夫妻曾多次站台宣传TST.
TST,英文名为Tin’Secret,顾名思义,这是张庭的秘密。TST庭秘密对外打造了一个品牌故事,据说活酵母是林瑞阳1994年在法国发现的,并且“解开了挤奶工宛若孩童般肌肤双手的半个世纪的秘密“。
在这个故事里,活酵母研发的面膜,是妻子张庭的私藏秘方,所以,她驻颜有术,成为大众口中的冻龄女神。他们决定“分享给更多爱美女性”,创办了TST庭秘密。
很多柳宜这样的代理商,都是被这种明星光环所吸引。
张庭夫妇把代理看作家人。代理商们叫林瑞阳大哥。一些公开场合,代理商们也会称他林爸爸。从一些宣传视频看,林瑞阳富有演讲技巧,演讲颇有感染力,懂得上升高度。
一位广东代理商告诉南风窗记者,大哥和庭姐在大家心中有很高的地位,跟大哥学做生意,就意味着自我圈层的突破。
柳宜说,个人买够2万,可以加老板林瑞阳的微信,可以进入经营群,跟老板学做生意。她后来才发现,“那都是公司的工作人员,弄个老板头像冒充老板,来回打字。”
当了“董事长”后,柳宜参加过经销商大会和各种线下活动。每次,大家都排着队,跟林瑞阳合影,拍了照拿回去造势。这是一种不可多得的宣传资源。
跟不同明星合影,对应着不同的业绩。跟张庭合影,要求是“百万业绩的董事长”。
明星很多,柳宜见过汪东城、张信哲、罗志祥等,还有代言人林志玲。活动前,每个家族长(包含众多董事长的联盟)会往下发合影券,谁业绩高,谁就上。
柳宜参加过韩国游轮的活动,去过浙江莫干山、上海、海南等地,最初食宿都要自理。为了跟更多明星合影,为了造更多势,大家都削尖了脑袋。
明星合影,发朋友圈,会大大提升拉人的成功率。不过,为了照顾手底下的人,柳宜也把仅有的一张合影券让了出去。
“寒了心”
庭秘密APP的分销系统显示,截止发稿时,TST分销商成立的创业公司有3379家。
庭秘密APP提供详尽的素材和资料,是一本全面的代理手册,日历每天会上线多套素材,以9宫格的形式,支持一键转发到朋友圈。各种视觉、短视频模板,关于林大哥和庭姐的宣传视频,一应俱全。
以加盟的名义,记者进入了一家编号为142的公司,所属微女王总集团的第3集团。据柳宜介绍,TST的代理体系中,最大的架构是家族,有微女王、Smile、梦天使、枫叶等。其中Smile家族的董事长就有数百人。

当了董事长之后,柳宜去参加经销商大会,发现大家为了壮大实力,使尽了浑身解数。一是联盟,组成一个家族。其次就是抢人,抢“大金卡”——指那些业绩高,但又没当董事长的代理,每一股势力都想要。
为了壮大,柳宜也开始吹牛、撒谎,假装自己赚了很多钱,“显得自己有实力,不然人家为什么愿意跟你?”
她开始理解群里那些宣传资料,谁喜提奔驰,谁全款买了房。还有一位妈妈,在怀孕期间赚了上百万。
柳宜印象最深刻的,是一位大学生,在一次活动上哭着分享自己有多穷,做了TST,不仅自己买车、买房,还在老家给奶奶盖了大房子。

但事实上,根据李旭长期以来的观察,这样的模式下,“中层以下的代理,都赚不了钱”,市场的主流渠道里,“TST产品不多见,因此大多需要内部消化”,货物积压到底层代理,卖不出去,他们成了兜底的人,“被割了韭菜。“
柳宜头上,两个上家,再往上就是华北大区的代理。算起来,她的层级也算是相对高的。但作为董事长,柳宜表示,她压根赚不到钱,至于亏了多少,她也没有细算。
代理商们热情在减退。柳宜表示,疫情前,参加线下活动的人变少了,即便TST成功提供住宿,但也没能挽回。与此同时,张庭的重心也在偏移。2020年6月,她在抖音直播,成交额高达2.56亿元。
张庭直播,开始带领代理商们去直播间买货,并承诺发放自家商城的抵用卷。
2020年11月到12月,有两名TST用户利用同一抵用券反复使用,分别购买了640万元、130万元价值的货物。柳宜说,他们被叫到上海TST公司去问询,随后就被青浦警方采取了刑事强制措施,理由是涉嫌合同诈骗。
柳宜说,这两名用户是TST的代理商,这件事情令她感到寒心。2021年年初,她不打算冲业绩了,原来身边100多人在做,很快只有10来个人在坚守。
与此同时,她查到TST产品的代工厂信息,在阿里巴巴上,每次问到报价,她都发现,“价格低到吓死人,每个产品都是50倍以上利润“。
更坚定了她放弃这份“事业”的决心。
当她看到一些传销方面的新闻时,她开始怀疑整个事情,于是咨询到了李旭。后者接到过很多类似的爆料,判定之下,认为可能涉传,遂举报给了各地的市场监管局。
11月23日,石家庄裕华区市场监管局表示,上海达尔威贸易有限公司(TST庭秘密主体公司)涉嫌利用网络从事传销活动,因其利用金融机构转移或隐匿涉传销资金,该局已依法申请人民法院采取保全措施,目前案件在进一步调查中。

TST庭秘密被调查(图源:中国新闻网)
不过,一如文章开头所述,TST方面否认了传销的质疑,称自身合法经营。29日,庭秘密APP贴出公告,2022年1月1日起,该商城将关闭支付通道,转移到另一个商城。记者下载发现,该APP没有设置代理、分销管理系统。
一位级别为“董事长”的代理商告诉记者,现在办理具备开卡资格的红卡,并不需要购买任何货物,只需分享商品、完成身份认证、银行卡绑定任务即可。该代理商还在朋友圈表示,过去6年间,他没有拉过任何人头。
目前,关于TST涉传的种种争议,仍然还在调查之中。
柳宜家里还有上万元的存货,她不知道怎么处理了,“卖不掉,也不敢送人,觉得羞耻。”
“帮忙”的明星们会不会被罚?
TST庭秘密大火的时候,很多明星都来为张庭夫妇站台。赵薇、范冰冰、徐峥陶虹夫妇、罗志祥、林志玲、刘涛、曹格夫妇、钱枫等众多明星都曾在各种场合帮“TST庭秘密”公开打广告,或者做过推广。有网友表示,张庭夫妇被处罚了,也不能让这些捞钱的明星跑了。
先说说张庭夫妇的创业史,不对,传销史。
两人都是演艺圈出身,张庭生于1970年,1991年,21岁就出演了《戏说乾隆》,一炮走红。林瑞阳生于1960年,比张婷大10岁,曾出演琼瑶剧《一帘幽梦》而走红。两人2006年结婚后,淡出演艺圈,进入商业圈。但刚开始,两人事业不顺,林瑞阳还曾因炒股而濒临破产。
2013年6月成立,张庭夫妇成立达尔威公司,注册资本2.318亿人民币,主要运营TST庭秘密项目。
张庭夫妇经常在短视频平台、公开场合,以秀恩爱,鼓励女性创业,号召女性独立等方式,吸引加盟代理。尤其是张婷,卖力鼓吹女性财务独立,引诱女性参加她的微商。
林瑞阳曾在其自传中写到,”TST”平台用户以二三四线城市80后、90后年轻女性为主。她们普遍基础相对薄弱,渴望借助TST平台,投身创业,通过不懈努力改变自己。张婷夫妇自称为自由职业人士、宝妈、伤残人士拓展就业机会,7年多帮助1246万人实现就业。1000多万人的就业量,吊打世界五百强。
张婷夫妇不断通过明星演唱会、游轮旅游、招商会等各种活动招募代理。所谓的0门槛,0代理费无成本,0囤货无压力吸引了很多对微商怀有朴素理想的人。所有代理又被迫卷入无休止的拉人头和囤货之中。
目前,TST庭秘密仍然在售卖。据其官网显示,“TST庭秘密”拥有800多万名会员,创业合作公司2712家,超6200万人使用过旗下产品,天猫官方旗舰店拥有57.7万粉丝。
TST庭秘密能有这么大规模,众多站台的明星功不可没。

最卖力的要数徐峥陶虹夫妇。徐峥曾经在一档综艺节目现场敷TST面膜,在自己导演的电影《港囧》做宣传时,还和TST共同推出了一款面膜,叫“囧膜”。
作为曾经的好姐妹,陶虹不仅卖力宣传,还以其个人和公司的方式,持有达尔威6.64%的股份。

范冰冰、刘涛、钱枫、林志玲、赵薇等明星,要么给TST做过广告,要么在自己的微博朋友圈发布TST产品的推广。

如今,这个庞氏骗局终于被揭穿,张庭夫妇也被处罚。那么,这些明星帮手们,会不会也会被处罚呢?
根据这些明星的行为,参照我国相关法律,他们目前只涉及两个方面,一个是虚假广告,另一个是参与、组织、策划传销活动。
虚假广告层面,根据广告法,广告代言人不得为其未使用过的商品或者未接受过的服务作推荐、证明,否则将承担连带责任。
一直以来,明星代言翻车比比皆是,绝大部分结果就是,明星发一封公开信表示抱歉了事,被追责的明星少之又少。
关晓彤就曾代言一家奶茶店,大力推广奶茶店加盟,其父还间接持股35%。后来该奶茶创始人卷钱跑路,众多加盟商血本无归。事后,关晓彤还发文表示没有参与经营,还将起诉诽谤造谣的网友。一时陷入舆论漩涡。

4月6日,温州一家餐饮公司直接将这家名叫天然呆的奶茶公司和代言人关晓彤一并告上法庭。目前,案件还未宣判。
2016年,台球女王潘晓婷代言了一个投资理财产品,最终暴雷,上万投资者被套牢。案发后,不少投资者自称是看了潘晓婷的代言广告才进行了投资,很多人要求潘晓婷赔偿。一名受害者更是将潘晓婷告上法院,要求赔偿20万元。最终,法院裁定,难以认定潘晓婷在本案代言中明知或应知广告内容虚假,无需赔偿。
检索发现,明星代言翻车只有一个处罚案例,就是李诞代言女性内衣的案件。2021年,李诞在其个人微博发布一则女性内衣广告,被北京市市场监督局查处,因李诞代言了他自己根本“未使用过的产品”,违反广告法,被没收违法所得225573.77元,罚款651147.54,合计罚没近88万元。

这是目前唯一的明星代言翻车被处罚的案例。在新广告法实施前,代言卫生巾的男明星王俊凯、侯明昊、蔡徐坤、贾征宇也都纷纷知趣得撤下了广告,否则,处罚不会比李诞轻。
为张婷产品做代言的这些明星是不是也违反了广告法?尽管网络有很多反应TST产品使用会“烂脸”,但根据目前监管部门公布的消息,尚不涉及虚假广告层面。
当然,这并不意味着他们没有虚假广告,如果TST产品的受害者能举证这些明星明知产品有缺陷而代言,或者未经使用就进行推广和代言,就可以起诉这些明星,进行索赔。
这些明星涉及的另一个层面就是组织策划传销。但根据最高法等三部委联合发布的《关于办理组织领导传销活动刑事案件适用法律若干问题的意见》,“以销售商品为目的、以销售业绩为计酬依据的单纯的“团队计酬”式传销活动,不作为犯罪处理,毕竟他们是有实际商品的。
同时,如果代言人深度参与了传销活动的组织、策划,那么,就会被没收非法所得,并处50万元以上200万元以下的罚款。
也就是说,随着该案件的进一步深入调查,如果查实这些明星有参与组织策划传销,那么,就可能像张婷夫妇一样被没收违法所得加上罚款。
传销破坏社会秩序和经济秩序,一直被国家严打。明星利用其公众影响力,组织传销或者为传销“代言”,破坏力更大。
该来的总会来,捞钱的坏人跑不了。
张庭夫妇比传销更不堪的从商经历
上海达尔威贸易有限公司经营的TST品牌,以招募代理的形式分销,代理采取提成返点制,一层一层地发展下线,然后从下线的销售额里抽成。期间,大量的代理为了完成业绩,只能大量囤货。
在《经济观察报》的一篇报道中提到,曾经做TST代理的小敏发现,在购买了近10万产品后,业务量还是没提升,囤积下来的产品只能自用。
像小敏这样想做代理却成为TST终端消费者的人并不是个例。上海达尔威贸易有限公司的纳税额,有几年都超过了10亿元,高昂税额的背后是巨大的利润,这些钱有多少是从代理身上榨取的,已经难以估算。
尽管微商的形式是近十年兴起的,但这并不是张庭和林瑞阳的第一次商业实战,在此前的两次创业中,尽管形式和领域都有不同,但缺德的内核一直没变。
根据能查到的公开报道,两个人做的第一桩生意,是色情网站。
当时是2001年,张庭刚刚31岁,来到大陆拍《穿越时空的爱恋》。张庭用这部剧在大陆获得了观众缘。彼时,BAT分别在一两年前成立,或许张庭感受到了互联网的浪潮,她和林瑞阳都投了钱,开设了一家网络公司。
她的动机非常简单,就是把她观察到的现象和钱挂钩:她觉得网民60%都会看色情网站,所以抢占先机,一定有利可图。
于是,她用拍戏攒下的千万资产投进一家网络公司,最开始做的业务是就是成人网站和色情聊天室。那是在2001年,个人电脑普及率刚刚达到1%,如果不是走错了道,她也算是对互联网有前瞻性的创业者。
当时的张庭,对于投资色情产业甚至充满了期待,2001年一篇新浪娱乐的报道里记录了张庭当时的反应,她说:“又不是我脱,但是投资成败都在这一战,比我自己上去脱衣服还紧张呢!”
在烧完了数以千万计的钱之后,色情网站无疾而终。但几年过后,在人们追问林瑞阳和张庭当年做网站的想法时,却发现,在互联网草莽生长的初期没受到惩罚的这对夫妇,对当年的错误方向反应淡漠,林瑞阳甩锅道:“网站的性质其实就是一个公众聊天室,我们出租聊天室里的房间,至于别人在里面干什么,我管不了。”
互联网泡汤了,张庭夫妇在10年前选择了二次创业的领域:房地产。林瑞阳当时说自己是一家美国上市的房地产公司董事长,这种说法纯粹打了一个信息差,这家公司后来被媒体证明是美国场外柜台交易系统挂牌的小企业而已,并没上市。林瑞阳的角色,也更像是楼盘促销员。
吹牛事小,但林瑞阳参与售卖的楼盘,因为交房困难给不少业主造成了麻烦。武汉的一品国际四面楚歌,在2014年,工人曾经前去讨薪,该楼盘原定于2014年年末交房,结果2015年过去了四个月,既不交房、又不赔钱,业主维权无门;临沂的一品观园,在2013年就开始建,根据小巴查到的信息,这个楼盘预计在2024年才能交房。
在这期间,业主在苦等,而赚得盆满钵溢的张庭夫妇却在2018年花17亿在上海浦东买了一栋大楼。
这栋大楼是张庭夫妇第三次创业的一座丰碑。

TST品牌从2013年进入大陆,截至今年5月,已经拥有超过1300万名会员,张庭夫妇组建了一个无比庞大的微商帝国。他们曾经包了一条游轮,带员工畅游黄浦江,给业绩好的代理10个月的年终奖。
虚假繁荣的商业帝国背后,是承担利润畸高、质量低劣产品的受害者,178元/瓶的某面膜乳成本只有4元/瓶,代理大量囤货,有用过的消费者烂脸。
在TST疯狂扩张这8年,张庭还拉来了30几位明星朋友帮自己宣传,包括当年和张庭一起出演《穿越时空的爱恋》的徐峥。
这部电视剧,奠定了张庭在大陆的知名度,电视剧里的搭档,也跟张庭有了千丝万缕的商业联系。
或许很多人心里都有那一幕,《穿越时空的爱恋》里的小玩子和朱允炆,满脸涂花对着镜头做鬼脸。在不知道多少年后,他们再次相聚,徐峥来参加张庭TST品牌的活动,张庭挽着他走过红毯。他们又站在一起了,但看起来,一切都已经变了。
小玩子不再是多少人童年的酒窝女神了。
2021年12月末,当张庭夫妇因为涉嫌传销被调查时,小巴的各个微信群里都不约而同地出现了一句话“她终于被查了”。












最新评论
如果是真的那就太好了
现在是短视频的时代,认真做个人博客的很少见了,真是难能可贵。
拼多多砍几刀太烦了,一直让砍
投资就是认知的变现
不要把幸福建立在别人的痛苦之上
地震能把铁路都震弯
知道了
这样的问题居然还需要分析?但凡脑子正常点也知道公司无责